| 事務所報 | 発行日 :令和8年1月 発行NO:No56 発行:バリュープラスグループ |
|---|---|
| →事務所報バックナンバーINDEXへ |
【3】特許法102条1項「単位数量当たりの利益の額」の事実上の推定が99%覆滅された判例紹介(「東京地方裁判所令和7年7月10日判決」)
文責:弁護士・弁理士 古莊 宏
【事案の概要】
本件は、「箱型船」という、海上の海苔養殖場において海苔網を回収し、当該網を船の浴槽部で酸洗浄し、再び当該網を海上へと戻す作業をする装置の発明(以下、「本件発明」という。)に関するものである。
原告は、被告に対し、本件発明の特許権(以下、「本件特許権」という。)に基づいて、被告製品の製造・販売等の差し止め、および損害賠償3000万円を求めた。
もっとも、原告は本件特許権に係る実施例を当初は用いていたものの、その後、原告は、客先の意向に合わせて、被告製品の競合品となる製品へと切り替えていた事情があった。すなわち、原告は、「箱型船」の浴槽内の酸洗浄のための原液を吐出する「原液吐出部」を、客先の意向に合わせて、浴槽内の底部から、浴槽内の液面より上へと、設計変更した競合品へと切り替えて販売していた事情があった。
その結果、東京地裁では本件特許権の寄与度を考慮要素として事実上の覆滅事由を認め、99%の覆滅が認定された。
なお、本件では原告の差止請求は認められているところ、以下、損害賠償請求を中心に紹介する。
【判旨】
1 「侵害の行為がなければ販売することができた物 」(特許法102条1項)
『特許法102条1項の文言及び趣旨に照らせば、特許権者等が「侵害の行為がなければ販売することができた物」とは、侵害行為によってその販売数量に影響を受ける特許権者等の製品として、侵害品と市場において競合関係に立つ特許権者等の製品であれば足りると解するのが相当である(知的財産高等裁判所平成31年(ネ)第10003号令和2年2月28日特別部判決〔以下「大合議判決」という。〕参照)。
これを本件についてみると(中略)、原告製品は、箱型船に、本件原告部品を取り付けたものであるところ、原液吐出部が、箱型船の進行方向の前方及び後方において、液面よりも上側に取り付けられており、本件発明の実施品に当たるものではない。
しかしながら、弁論の全趣旨によれば、原告製品は、海苔養殖に使用されるpH自動調整装置が付いた海苔養殖用の箱型船であり、その需要者は、海苔の養殖業者であることが認められる。
そうすると、原告製品と被告製品とは、需要者を共通にする同種の製品であるといえるから、原告製品は、被告製品と市場において競合関係に立つものであると認めるのが相当である。
したがって、原告製品は、特許法102条1項にいう「侵害の行為がなければ販売することができた物」に当たると認めるのが相当である。』と判示し、当該要件該当性を認めている。
2 「単位数量当たりの利益の額」(同法同項)および寄与度
その上で、「単位数量当たりの利益の額」に認定に当たり、寄与度を考慮要素として、推定覆滅事由を以下のように判示した。
『(中略)原告は、過去に本件発明の実施品を販売していたことがあるものの、これらは数台にとどまり、そもそも顧客からの評判が好ましくなかったため、現在では実施せず、木件発明の競合品である原告製品を販売していること、本件発明の特徴的部分は、箱型船全体の中で原液吐出部の位置をシート部材の下部に設けた部分にあるところ、原告製品の原液吐出部の位置については、顧客の要望等を踏まえ、現在は、原液吐出部の位置をあえて酸処理液の液面よりも上側に設けていること、以上の事実が認められる。
上記認定事実によれば、本件発明の特徴的部分である原液吐出部の位置に関する構成は、本件発明の箱型船全体からするとごく一部にすぎない上、顧客からの評判が好ましくなかったのであるから、そもそも顧客誘引力が高いとはいえず、しかも、原告製品は、本件発明の特徴的部分すら備えていないものといえる。
これらの事情を踏まえると、上記特徴的部分が原告製品の販売による利益に貢献しているとしても、その程度はごく僅かであるといわざるを得ず、その貢献を算定し得たとしても、全体の1%にとどまるというのが相当である。
したがって、事実上の推定が覆滅される程度は、全体の99パーセントであると認めるのが相当である』と判示して、推定覆滅事由をほぼ認めている。
3 「当該特許権者又は専用実施権者が販売することができないとする事情」(同法同項但書)
判旨は縷々述べるも、最終的には認めなかった。
【考察】
1 本判決が、特許法102条1項の特許権者の製品も侵害品の競合品であれば足り、特許発明の実施品である必要は無いとしている点は、既出の判例(参考判例[オフセット輪転機版胴事件:知財高裁平成27年11月19日判タ1425号179頁])と同様といえる。
2 また、本判決が、同法同項但書の中では無く、その前の「単位数量当たりの利益の額」(同法同項)の段階で、本件特許権の寄与度という考慮要素として織り込んで、推定覆滅事由を評価しているといえる点も(寄与度説)、既出の判例と同様といえる(参考判例[液体充填装置事件:東京地裁平成15年12月26日判例時報1851・138]、[生海苔共周り防止装置事件:知財高裁平成25年4月11日判例時報2192・105])。
【おわりに】
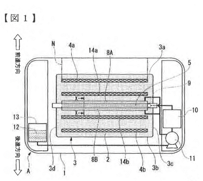
最後に、参考までに原告の実施例1(引用元:特許6898087号/【図1】は「箱型船」を上から見た図。【図2】は「箱型船」の断面で酸の浴槽内を表している図。なお、「8a」部および「8b」部は「原液吐出部」を表す。)、並びに被告製品(引用元:最高裁HP)を掲載しておく。
[原告の実施例1]
[被告製品]
【図3】
【図4】
(令和8年1月作成: 弁護士・弁理士 古莊 宏)


